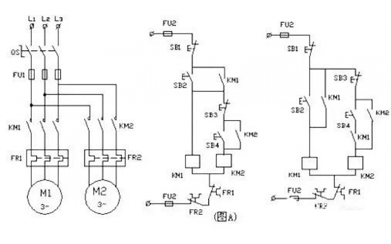
电动机控制线路故障查找方法
2023-02-06 科威
中空液压扳手工作头怎样选配?
2023-01-13 科威
断路器小电流开断知识分享
绝缘电缆中压开关柜应用
称重皮带给料机C滚筒调偏丝杆损坏异常分析
2023-01-11 科威
电子皮带秤影响测重准确性的校验方法
带你认识什么是KWZK-MD80系列在线密度计?
包装机系统常见故障判断及处理
2023-01-10 科威